Fachwerkhaus
ID:
166259529620
/
Datum:
12.12.2011
Datenbestand: Bauforschung
Datenbestand: Bauforschung
Objektdaten
| Straße: | Knittlinger Straße |
| Hausnummer: | 4 |
| Postleitzahl: | 75417 |
| Stadt-Teilort: | Lienzingen |
|
|
|
| Regierungsbezirk: | Karlsruhe |
| Kreis: | Enzkreis (Landkreis) |
| Wohnplatzschlüssel: | 8236040007 |
| Flurstücknummer: | keine |
| Historischer Straßenname: | keiner |
| Historische Gebäudenummer: | keine |
| Lage des Wohnplatzes: |
|
Kartenansicht (OpenStreetMaps)
Durch Ihre Cookie-Auswahl haben Sie die Kartenansicht deaktiviert, die eigentlich hier angezeigt werden würde. Wenn Sie die Kartenansicht nutzen möchten, passen Sie bitte Ihre Cookie-Einstellungen unter Impressum & Datenschutzerklärung an.
Wohnhaus, Friedenstraße 3 (75417 Lienzingen)
Fachwerkhaus, Herzenbühlstraße 3 (75417 Lienzingen)
Wohnhaus, Herzenbühlstraße 18 (75417 Lienzingen)
Fachwerkhaus, Kirchenburggasse 14 (75417 Lienzingen)
Fachwerkhaus, Kirchenburggasse 20 (75417 Lienzingen)
Wohnhaus, Knittlinger Straße 4 (75417 Lienzingen)
Fachwerkhaus, Spindelgasse 8 (75417 Lienzingen)
Wohnhaus, Spindelgasse 4 (75417 Lienzingen)
Fachwerkhaus, Spindelgasse 6 (75417 Lienzingen)
Zehntscheuer (75417 Mühlacker-Lienzingen, Herzenbühlstraße 27)
Fachwerkhaus, Herzenbühlstraße 3 (75417 Lienzingen)
Wohnhaus, Herzenbühlstraße 18 (75417 Lienzingen)
Fachwerkhaus, Kirchenburggasse 14 (75417 Lienzingen)
Fachwerkhaus, Kirchenburggasse 20 (75417 Lienzingen)
Wohnhaus, Knittlinger Straße 4 (75417 Lienzingen)
Fachwerkhaus, Spindelgasse 8 (75417 Lienzingen)
Wohnhaus, Spindelgasse 4 (75417 Lienzingen)
Fachwerkhaus, Spindelgasse 6 (75417 Lienzingen)
Zehntscheuer (75417 Mühlacker-Lienzingen, Herzenbühlstraße 27)
Bauphasen
Kurzbeschreibung der Bau-/Objektgeschichte bzw. Baugestaltungs- und Restaurierungsphasen:
Der dendrochronologischen Untersuchung zufolge datiert das Dachwerk in die Mitte des 15. Jhs. (d)
1. Bauphase:
(1484)
(1484)
Abzimmerung Dachwerk. (d)
Betroffene Gebäudeteile:
- Dachgeschoss(e)
Zugeordnete Dokumentationen
- Gefügedokumentation
- Bauhistorische Kurzdokumentation
Beschreibung
Umgebung, Lage:
keine Angaben
Lagedetail:
- Siedlung
- Stadt
Bauwerkstyp:
- Wohnbauten
- Wohnhaus
Baukörper/Objektform (Kurzbeschreibung):
Giebelständiger Fachwerkbau mit Satteldach.
Innerer Aufbau/Grundriss/
Zonierung:
Zonierung:
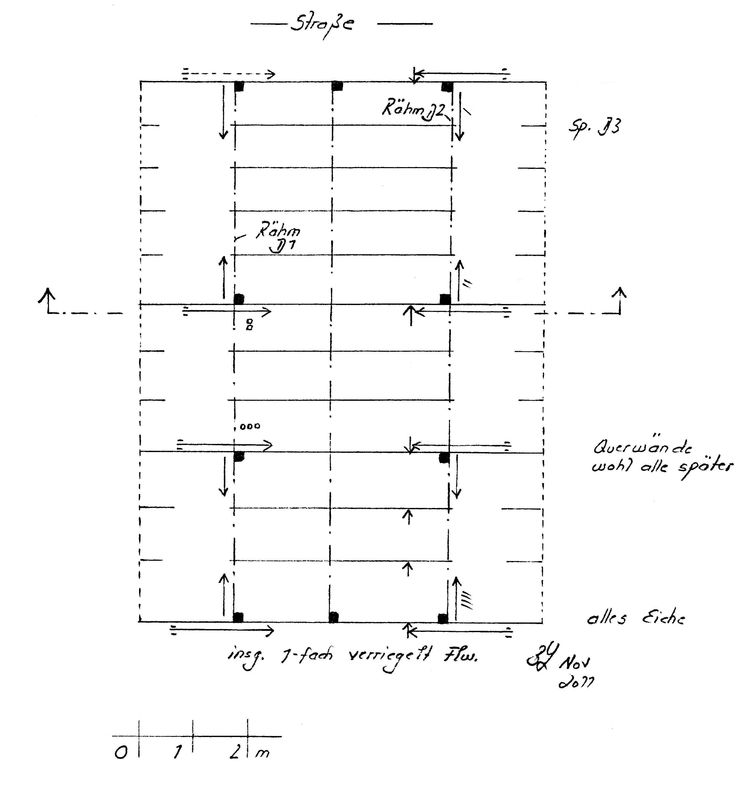
Grundriss wird durch zwei innere Binderquerachsen in drei onen gegliedert.
Vorgefundener Zustand (z.B. Schäden, Vorzustand):
Nahezu vollständig erhaltene bauzeitliche Substanz: Bei den abgezimmerten Bauhölzern handelt es sich ausschließlich um Eichenhölzer; sie sind rauchschwarz.
Bestand/Ausstattung:
keine Angaben
Konstruktionen
Konstruktionsdetail:
- Wandfüllung/-verschalung/-verkleidung
- Flechtwerk
- Mischbau
- Holzbau mit Gebäudeteil aus Stein
- Dachform
- Satteldach
- Dachgerüst Grundsystem
- Sparrendach, q. geb., mit einheitlicher Gebindeaufreihung
Konstruktion/Material:
Nach den aufgenommenen Befunden werden die mit einem verblatteten Kehlbalken ausgestatteten Sparrendreiecke im 1. Dachgeschoss durch zwei Stuhlrähme und einem mittigen Längsunterzug unterstützt. Während die Stuhlrähme durch stehende Ständer getragen werden, ist für die Auflagerung des Unterzuges in den beiden inneren Querachsen ein zusätzlicher, zwischen den beiden Stuhlständern verlaufender Querriegel verbaut. Für die Erbauungszeit ist das Stuhlgerüst offen und damit ohne Einbindung in Quer-oder Längswände zu rekonstruieren.
Beidseitig verblattete, in Längsrichtung angeordnete Kopfbänder steifen den Winkel zwischen Rähm und Ständer aus. Die Queraussteifung des Traggerüstes erfolgt durch Steigbänder, welche an den Bundständern des Unterbaus ansetzen und in einer Länge bis zu den Kehlbalken reichen. Diese Ausführung liegt am rückwärtigen, unverputzten Giebel frei. Innerhalb des Dachraumes überblatten die Steigbänder die genannten Querriegel.
Im 2. Dachgeschoss ist kein Traggerüst ausgeführt.
Ausgehend vom Straßengiebel sind die Querbinderscheiben durch die steigende Folge von Punktkerben gekennzeichnet. An den Kopfbändern wurde die steigende Folge von Strichkerben aufgenommen.
Die Giebelwände sind einfach verriegelt und mit Flechtwerk geschlossen.
Beidseitig verblattete, in Längsrichtung angeordnete Kopfbänder steifen den Winkel zwischen Rähm und Ständer aus. Die Queraussteifung des Traggerüstes erfolgt durch Steigbänder, welche an den Bundständern des Unterbaus ansetzen und in einer Länge bis zu den Kehlbalken reichen. Diese Ausführung liegt am rückwärtigen, unverputzten Giebel frei. Innerhalb des Dachraumes überblatten die Steigbänder die genannten Querriegel.
Im 2. Dachgeschoss ist kein Traggerüst ausgeführt.
Ausgehend vom Straßengiebel sind die Querbinderscheiben durch die steigende Folge von Punktkerben gekennzeichnet. An den Kopfbändern wurde die steigende Folge von Strichkerben aufgenommen.
Die Giebelwände sind einfach verriegelt und mit Flechtwerk geschlossen.

