Datenbank Bauforschung/Restaurierung

Datenbank Bauforschung/Restaurierung

Wohn- und Geschäftshaus

ID: 160358021910  /  Datum: 20.03.2013
Datenbestand: Bauforschung
Als PDF herunterladen:
Alle Inhalte dieser Seite: /

Objektdaten

Straße: Hauptstraße
Hausnummer: 34
Postleitzahl: 79219
Stadt-Teilort: Staufen

Regierungsbezirk: Freiburg
Kreis: Breisgau-Hochschwarzwald (Landkreis)
Wohnplatzschlüssel: 8315108015
Flurstücknummer: keine
Historischer Straßenname: keiner
Historische Gebäudenummer: keine
Lage des Wohnplatzes: Lage des Wohnplatzes

Kartenansicht (OpenStreetMaps)

Durch Ihre Cookie-Auswahl haben Sie die Kartenansicht deaktiviert, die eigentlich hier angezeigt werden würde. Wenn Sie die Kartenansicht nutzen möchten, passen Sie bitte Ihre Cookie-Einstellungen unter Impressum & Datenschutzerklärung an.

Objektbeziehungen

keine

Umbauzuordnung

keine

Bauphasen

Kurzbeschreibung der Bau-/Objektgeschichte bzw. Baugestaltungs- und Restaurierungsphasen:

Der dreigeschossige Massivbau mit seinen außerordentlich großen Geschosshöhen sitzt mit seiner rückwärtigen, westlichen Traufwand der Stadtmauer auf. An der Ostfassade, rechtwinklig an die Hauswand anschließend, spannt sich ein mit der Jahreszahl 1717 versehener Torbogen, durch welchen man zum Eingang des Hauses gelangt. Wie das Gebäude, so datiert auch das Gewände des spitzbogigen Eingangsportals in die Jahre vor 1500. Dendrochronologische Befunde des Dachwerks und der Kellerbalken bestätigen dies.


1. Bauphase:
(1480 - 1487)
Errichtung des Kernbaus zwischen 1480-1487 (d). Eine genauere Datierung war aufgrund der fehlenden Waldkante der Bohrproben aus den Balken des Kellers nicht möglich
Betroffene Gebäudeteile:
keine

2. Bauphase:
(1496)
Fälldatum der Tannenhölzer des Dachwerks (d)
Betroffene Gebäudeteile:
keine

Besitzer:in

keine Angaben

Fotos

Abbildungsnachweis
Eingangsportal / Wohn- und Geschäftshaus in 79219 Staufen, Staufen im Breisgau (Stadtarchiv Staufen)
Abbildungsnachweis
Südostansicht / Wohn- und Geschäftshaus in 79219 Staufen, Staufen im Breisgau (Stadtarchiv Staufen)
Abbildungsnachweis
Systemskizze Grundriss 1. DG / Wohn- und Geschäftshaus in 79219 Staufen, Staufen im Breisgau (Burghard Lohrum)
Abbildungsnachweis
Systemskizze Grundriss Keller  / Wohn- und Geschäftshaus in 79219 Staufen, Staufen im Breisgau (Burghard Lohrum)
Abbildungsnachweis
Systemskizze Querschnitt Dachwerk (2. DG) / Wohn- und Geschäftshaus in 79219 Staufen, Staufen im Breisgau (Burghard Lohrum)

Zugeordnete Dokumentationen

  • Dendrochronologische Datierung
  • Bauhist. Kurzuntersuchung

Beschreibung

Umgebung, Lage:
Das Gebäude liegt im Stadtzentrum von Staufen. Das Gebäude sitzt mit seiner rückwärtigen Traufwand der Stadtmauer auf. An der Gegenseite, rechtwinklig an die Hauswand anschließend, spannt sich ein mit der Jahreszahl 1717 versehener Torbogen.
Mit seiner südlichen Giebelseite schließt es über ein deutlich niedrigeres Torhaus (Haus Nr. 40) an die Reihenbebauung der Hauptstraße an.
Lagedetail:
  • Siedlung
    • Stadt
Bauwerkstyp:
  • Wohnbauten
    • Wohn- und Geschäftshaus
Baukörper/Objektform (Kurzbeschreibung):
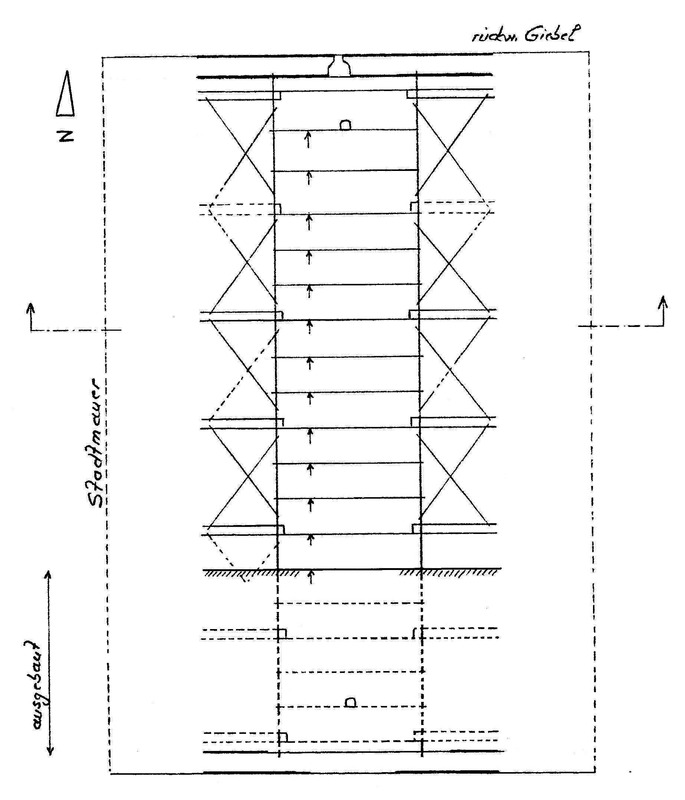
Der dreigeschossige, längsrechteckige Massivbau wird überdeckt von einem Satteldach mit nach Süden ausgerichtete Drittelwalm. Ausgestattet mit einem bis in den Firstpunkt reichenden Spitzständer, bildet dieser die konstruktive Basis für eine schon zur Erbauungszeit vorhandene Firstbekrönung. Der dreigeschossige Unterbau wird von einem zweigeschossigen Dachwerk mit Spitzboden bekrönt. Das 1. Dachgeschoss ist vollständig ausgebaut, das 2. Dachgeschoss nur im südlichen Bereich. An der Ost- und Westseite befinden sich jeweils jüngere Schleppgauben
Innerer Aufbau/Grundriss/
Zonierung:
keine Angaben
Vorgefundener Zustand (z.B. Schäden, Vorzustand):
keine Angaben
Bestand/Ausstattung:
keine Angaben

Konstruktionen

Konstruktionsdetail:
  • Dachgerüst Grundsystem
    • Sparrendach, q. geb. mit liegendem Stuhl
  • Dachform
    • Satteldach mit Drittelwalm
  • Dachgerüst, verstärkende Einbauten
    • Kehlbalken, Kreuzbänder, Sparrenstreben etc.
Konstruktion/Material:
Das Gebäude überbaut zwei Keller, die über einen Treppenabgang am nördlichen Giebel erschlossen sind. Dieser führt in den kleineren Keller, der mit einem parallel zum Firstverlauf gespannten Deckengebälk eingedeckt ist. Von hier gelangt man in den großen, den verbleibenden Hausgrundriss einnehmenden Keller. Er liegt geringfügig tiefer und besitzt eine quer verlegte Balkenlage. Das westliche Auflager bildet eine Massivmauer, die offensichtlich der Stadtmauer vorgemauert wurde. Zwei eingewölbte Nischen sind als Sparbögen zu bewerten. In der südlichen Nische wurde zu einem späteren Zeitpunkt die etwa 1,75 m dicke Stadtmauer durchbrochen. Um eine Vormauerung handelt es sich wohl auch bei der an der Ostseite verlaufenden Auflagerwand. In ihr sind gleichfalls zwei Sparbögen ausgeführt.

Auf dem Gebäude ist ein zweigeschossiges Satteldach mit zusätzlichem Spitzboden abgezimmert. Es ist im 1. Dachgeschoss vollständig und im 2. Dachgeschoss nur im südlichen Bereich ausgebaut. Das im oberen Dachbereich aufgenommene Dachgerüst besteht aus einem liegenden und verblatteten Stuhl mit insgesamt sieben Querbünden. Besondere Beachtung verdient der nach Süden ausgerichtete Drittelwalm. Ausgestattet mit einem bis in den Firstpunkt reichenden Spitzständer, bildet dieser die konstruktive Basis für eine schon zur Erbauungszeit vorhandene Firstbekrönung. Bei diesem Schmuckelement handelte es sich um das weithin sichtbare Erkennungsmerkmal ausschließlich herrschaftlich genutzter Bauwerke.

Quick-Response-Code

qrCode