Wohnhaus
Datenbestand: Bauforschung
Objektdaten
| Straße: | Auf dem Graben |
| Hausnummer: | 44/46 |
| Postleitzahl: | 79219 |
| Stadt-Teilort: | Staufen |
|
|
|
| Regierungsbezirk: | Freiburg |
| Kreis: | Breisgau-Hochschwarzwald (Landkreis) |
| Wohnplatzschlüssel: | 8315108015 |
| Flurstücknummer: | keine |
| Historischer Straßenname: | keiner |
| Historische Gebäudenummer: | keine |
| Lage des Wohnplatzes: |
|
Kartenansicht (OpenStreetMaps)
Wohnhaus , Auf dem Graben 12 (79219 Staufen)
Wohn- und Geschäftshaus, Auf dem Graben 48 (79219 Staufen)
Wohnhaus, Freihofgasse 1 (79219 Staufen)
Wohn- und Geschäftshaus, Hauptstraße 38 (79219 Staufen)
Wohnhaus, Spitalstraße 19 (79219 Staufen)
Wohnhaus, Spitalstraße 20 (79219 Staufen)
Wohnhaus, Spitalstraße 22 (79219 Staufen)
Wohnhaus, Spitalstraße 26 (79219 Staufen)
Wohnhaus, Spitalstraße 30 (79219 Staufen)
Ehem. Spital, Spitalstraße 33 (79219 Staufen)
Wohnhaus, St.-Johannesgasse 3 (79219 Staufen)
Wohnhaus, St.-Johannesgasse 14 (79219 Staufen)
Wohnhaus, St.-Johannesgasse 15 (79219 Staufen)
Wohnhaus, St.-Johannesgasse 24 (79219 Staufen)
Ehem. Scheune, St.-Johannesgasse 26 (79219 Staufen)
Wohnhaus, St.-Johannesgasse 28 (79219 Staufen)
Wohnhaus, St.-Johannesgasse 2 (79219 Staufen)
Wohnhaus, St.-Johannesgasse 6 (79219 Staufen)
Wohnhaus/Scheune, St.-Johannesgasse 7 (79219 Staufen)
Bauphasen
Zweigeschossiger, traufständiger Massivbau mit jüngerem Dachwerk. Das heutige Satteldach ersetzt das nicht mehr vorhandene Altdach mit Staffelgiebel. Dieses überdachte offensichtlich ein Gebäude, dessen repräsentativ gestalteter und rot gefasster Staffelgiebel zeitweise frei stand und zu einem späteren Zeitpunkt vom Nachbarhaus Nr. 48 überbaut wurde.
Das Kerngebäude ist von außen erkennbar in das ausgehende Mittelalter zu datieren.
Die Nordfassade wurde im 19./20. Jahrhundert modernisiert.
Unter dem Gebäude befinden sich zwei Keller, von denen der im Anschluss an die nördliche Giebelwand gelegene baugeschichtlich älter ist. Dessen südlicher Abschluss wird durch den zweiten und tieferen Keller gestört. Bei dem älteren Keller handelt es sich im Kern um einen Balkenkeller. Zwei dendrochronologisch untersuchte Kellerbalken datieren in die Jahre um 1470.
Weitaus jünger ist das Dachwerk. Das Dachwerk datiert in die Jahre 1780/81 (d) und ersetzt als Nachfolgedach das nicht mehr vorhandene, zum Staffelgiebel gehörige Altdach.
(1470)
(1780 - 1781)
- Dachgeschoss(e)
Zugeordnete Dokumentationen
- Dendrochronologische Datierung
Beschreibung
- Siedlung
- Stadt
- Wohnbauten
- Wohn- und Geschäftshaus
Unter dem Gebäude befinden sich zwei Keller, von denen der im Anschluss an die nördliche Giebelwand gelegene baugeschichtlich älter ist. Dessen südlicher Abschluss wird durch den zweiten und tieferen Keller gestört.
Zonierung:
Konstruktionen
- Dachform
- Satteldach
- Gestaltungselemente
- Staffelgiebel
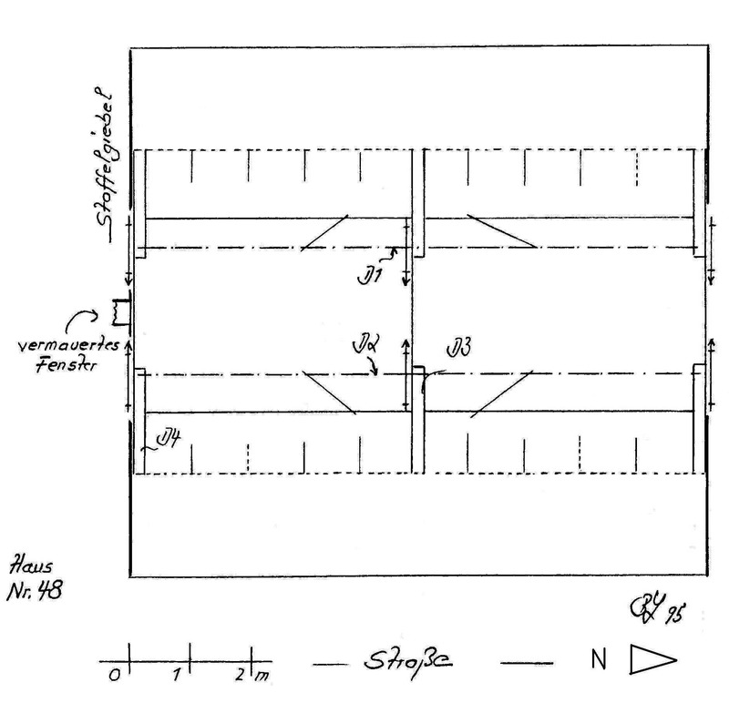
Weitaus jünger ist das Dachwerk. Dieses ist im 1. Dachgeschoss umfassend ausgebaut. Trotzdem lassen zwei im Südgiebel vorhandene Nischen mit ihren schräg nach außen verlaufenden Laibungen vermuten, dass es sich hierbei um zwei ehemalige Fensteröffnungen handelt. Dieser Befund wiederholt sich im 2. Dachgeschoss. Hier kann die später vermauerte Öffnung klar als ehemaliges Fenster angesprochen werden. Auf dieser Ebene liegt dann auch die abgezimmerte Dachkonstruktion offen. Deren tragendes Gerüst bilden drei abgesprengte Querbünde, von denen die beiden äußeren Traggerüste unmittelbar vor den massiven Giebelscheiben angeordnet sind.




